FREE SHIPPING ON ORDERS OVER $699 (SOME EXCLUSIONS APPLY) | 877-795-2278
Thumbs 1
Thumbs 1

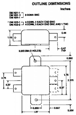
Dorne Triplexer / Dual VOR / Single GS Model DM H23-1

$547.00/Each
Quantity
Add to Wishlist
Part# 11-02774
MFR Model# DM H23-1

Overview

This Antenna Coupler is ruggedly built and housed in an aluminum case with all circuit elements fully encapsulated. It is specifically designed to couple multiple receiver systems to a single antenna with a minimum of insertion loss. The DM H23-1 is a dual VOR and single GS which will permit operation of two NAV and one glide slope receiver from one VOR/LOC antenna.

Specifications

  • Alternate Part Numbers: 14850, 36-380092, 84-37-01, CI-505, SSPD-113-12

Documents

  • Frequently Purchased With
  • Customers Also Viewed

Reviews

Q&A

Please note, Aircraft Spruce Canada's personnel are not certified aircraft mechanics and can only provide general support and ideas, which should not be relied upon or implemented in lieu of consulting an A&P or other qualified technician. Aircraft Spruce Canada assumes no responsibility or liability for any issue or problem which may arise from any repair, modification or other work done from this knowledge base. Any product eligibility information provided here is based on general application guides and we recommend always referring to your specific aircraft parts manual, the parts manufacturer or consulting with a qualified mechanic.

  • Did You Mean?
  • Categories