THE AVIATION SUPERSTORE FOR ALL YOUR AIRCRAFT & PILOT NEEDS | 877-795-2278
Thumbs 1
Thumbs 1
Thumbs 1

80 Grit Seat Track Cleaners

$17.50/Each
Quantity
Add to Wishlist
Part# 12-00952

Overview

Maintaining adjustable cockpit seats, or passenger seating secured in notched tracks, requires removing the dirt and grit that have become embedded in the tracks. Rex-Cut Products has developed a thin-profile mounted wheel specially designed to accomplish this job efficiently and safely.

The seat track cleaners are manufactured using layers of reinforced nonwoven cotton fiber and abrasive grain which are bonded into discs. When mounted on a die grinder they are able to fit inside the seat tracks. Designed for cleaning all the interior surfaces of the track without having to change discs, one disc will remove caked on sludge, dirt and grit while removing minor burrs and rough edges.

The seat track cleaners are non-loading on aluminum and leave superior surface finishes. Available in 54 and 80 grits in aluminum oxide grain mounted on a 1/4 x 1/2" shank.


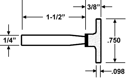
Actual Size
Side Profile of Seat Track
Cleaning Application The bottom, sides and top of the abrasive tool can be used to clean all interior surfaces of the seat track.

Reviews

Q&A

Please note, Aircraft Spruce Canada's personnel are not certified aircraft mechanics and can only provide general support and ideas, which should not be relied upon or implemented in lieu of consulting an A&P or other qualified technician. Aircraft Spruce Canada assumes no responsibility or liability for any issue or problem which may arise from any repair, modification or other work done from this knowledge base. Any product eligibility information provided here is based on general application guides and we recommend always referring to your specific aircraft parts manual, the parts manufacturer or consulting with a qualified mechanic.

View in Catalog

View Image View in Catalog
  • Did You Mean?
  • Categories