THE AVIATION SUPERSTORE FOR ALL YOUR AIRCRAFT & PILOT NEEDS | 877-795-2278

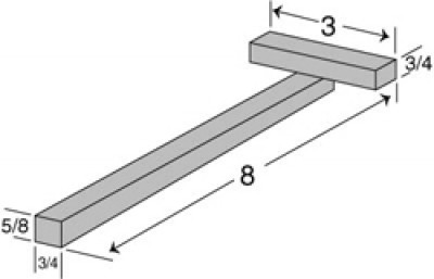
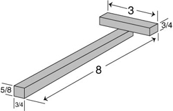
1-1/2 Lb. Bucking Bar

$242.95/Each
Quantity
Add to Wishlist
Part# 12-01315
MFR Model# 08-753

Overview

bucking bars are cast with ductile iron to insure non-porous finish which is very important in order to have a highly polished finished surface. They are heat treated to 38-42 RC and therefore can be repolished many times without changing hardness. This wide selection of sizes, shapes, and weights enables the aircraft builder to pick the proper bar for his job. Made in the U.S.A.
  • Frequently Purchased With
  • Customers Also Viewed
  • Related Items

Reviews

Q&A

Please note, Aircraft Spruce Canada's personnel are not certified aircraft mechanics and can only provide general support and ideas, which should not be relied upon or implemented in lieu of consulting an A&P or other qualified technician. Aircraft Spruce Canada assumes no responsibility or liability for any issue or problem which may arise from any repair, modification or other work done from this knowledge base. Any product eligibility information provided here is based on general application guides and we recommend always referring to your specific aircraft parts manual, the parts manufacturer or consulting with a qualified mechanic.

View in Catalog

View Image View in Catalog
  • Did You Mean?
  • Categories